Documentación técnica imprescindible para la Afiladora JOHUSE Afor-C
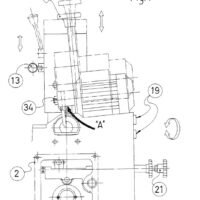
Este documento está dirigido a profesionales que trabajan con la Afiladora JOHUSE modelo Afor-C, una máquina utilizada en entornos industriales para el afilado y mantenimiento de herramientas de corte.
Se trata de documentación de alto valor técnico que facilita la correcta operación, configuración, ajuste y mantenimiento del equipo, permitiendo optimizar los procesos de afilado y garantizar la precisión en el trabajo.
Formato: PDF descargable
Idioma: Español
Tipo de documento: Manual de instrucciones
Compatibilidad: Modelo JOHUSE Afor-C
Nota: Este documento procede de archivos técnicos antiguos. Ha sido escaneado manualmente, por lo que es posible que alguna página pueda faltar o presentar pequeños desperfectos en la impresión debido al estado del documento original.










